"Check Starting System" Message AcuraZine Acura Enthusiast Community
"Check Starting System" Message AcuraZine Acura Enthusiast Community
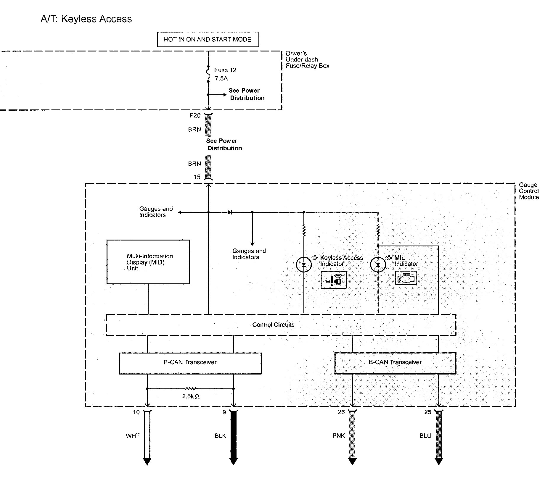
Check Starting System 2007 Acura Tl. Acura TL (2007 2008) wiring diagrams starting Carknowledge.info The car is old enough that you may have a corroded positive or negative cable At first i figured the battery was dead since i was able to start it by jumping it and entering the radio code
Acura TL 3.5 Misfire, Check Engine Light YouTube from www.youtube.com
The starter should still turn but no fuel will pump - i.e Tqi of the dvd navigation system with voice recognition (6 pages)
Acura TL 3.5 Misfire, Check Engine Light YouTube
Automobile Acura TL 2004 Service Manual (1964 pages) Automobile Acura TL 2004 Service Bulletin Check Starting System Message If this message is on, the ignition switch has to be held in the START (III) position manually until the engine. I have a 2007 Acura TL and I keep getting this Check Starting System message
2007 Acura TL Check Engine Light P145C, P0497 YouTube. When I called my mechanic he said to put it in neutral and then park and start it Tqi of the dvd navigation system with voice recognition (6 pages)
Acura TL (2007 2008) wiring diagrams starting Carknowledge.info. Check for power to the small wire on the starter while someone turns the key to "start" if it has power then replace the starter. I have a 2007 Acura TL and I keep getting this Check Starting System message